联系邮箱: sengui@sgv.cc|English|русский

88F系列倒吊桶式疏水阀,法兰蒸汽疏水阀工作原理
88系列倒吊桶式蒸汽疏水阀的开启和关闭是根据凝结水和蒸汽的密度差来动作的,其动作准确,可靠。此蒸汽疏水阀用于石油、化工、电力、纺织印染、医疗、医药等行业的各种蒸汽加热设备、蒸汽管网和低过热蒸汽工况。它能迅速地排除凝结水,有效地阻止蒸汽泄露。
![]() | 1、当设备刚启动时,管道内出现空气和冷凝水,此时倒吊桶下沉,连杆带动阀芯打开阀口,空气和冷凝水迅速排出,实现快速气动。 |
![]() | 2、设备启动后,热凝水进入疏水阀,此时倒吊桶仍处于下沉位置,在工作压差下,热凝水迅速排出。 |
![]() | 3、当蒸汽进入倒吊桶内,倒吊桶产生向上浮力,连杆带动阀芯关闭阀口。 |
![]() | 4、倒吊桶顶部舍友一个排气孔,当一部分蒸汽从小孔排出,另一部分蒸汽变成凝结水以及凝集水位升高时,倒吊桶市区浮力而下沉,连杆带动阀芯打开阀口,继续排放凝结水。 |
88F系列倒吊桶式疏水阀,法兰蒸汽疏水阀产品特点
1、即能连续又能间歇排放饱和凝结水加热设备不会有水积聚,从而获得最离的热效率。
2、耐水击侧吊桶结构不会因水击而遭到损坏,使用寿命长。
3、排空气性能好倒吊桶上设有溢出排气孔.可有效地预防蒸汽气锁和空气气堵。
4、允许背压高背压率达85 %。
5、维修方便内部零件采用不锈钢制造,均安装在阀盖上,并设有过滤网装置,日常维护方便。
88F系列倒吊桶式疏水阀,法兰蒸汽疏水阀产品主要尺寸:
![]() | 型号公称通径(mm)A(mm)B(mm)C(mm)L(mm)881F15.20.259676100170882F20.25.3214594137210883F25.32.40180121193270884F32.40.50203150212320885F40.50220148248350886F65.80265489310400 |
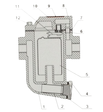
| 序号名称·材料1阀体碳钢/不锈钢2过滤网不锈钢3排污螺塞垫圈不锈钢4排污螺栓塞碳钢5倒置桶不锈钢6连接管不锈钢7阀盖垫圈石墨8阀盖碳钢9柳钉不锈钢10铭牌铝/不锈钢11连杆不锈钢12内六角螺栓碳钢 |